A vízszintes talajfúrók gyors és költséghatékony megoldást nyújtanak a speciális talajfúrási munkálatok során, kemény talajtípus esetén is! Legnagyobb előnyük, hogy közművek telepítésekor (víz, gáz, áram és egyéb vezetékeknél) a meglévő, szilárd burkolat bontása nélkül, út vagy más tereptárgy alatt lehet készíteni furatot a talajban.
A maximális fúrási hatótávolságuk 15 m. Minden fúrószár 1 méter hosszú, a 15 méteres maximális hatótáv eléréséhez a fúrószárak munka közben, egyesével összekapcsolhatóak, egymásba toldhatóak a végeiknél.
A fúrófejek 130, 200, 250 mm átmérővel is rendelhetők, így több méretű lyuk kialakítására is van lehetőség. Fontos, hogy azonos méretű fúrószárra azonos méretű fúrófej csatlakoztatható.
Lehetőség van a 250mm-nél nagyobb furat kifúrására, bővítőszárak alkalmazásával. Így akár 300, sőt 350mm átmérőjű furat érhető el. Először a normál fúrószárral (130,200 vagy 250mm) kell előfúrni a lyukat a földben, majd a bővítőszár felhelyezésével lehet bővíteni a lyukátmérőt. Elegendő ha minden második vagy harmadik szár bővítőszár. Például egy 10 méteres lyukhoz a talajban, először elő kell fúrnia 10 darab (200 / 250 mm-es) normál szárral, majd a 2. vagy a 3. szárat kicserélheti a bővítőszárra, és így kell megismételni ezt a folyamatot a nagyobb átmérőhöz.
Jellemzők:
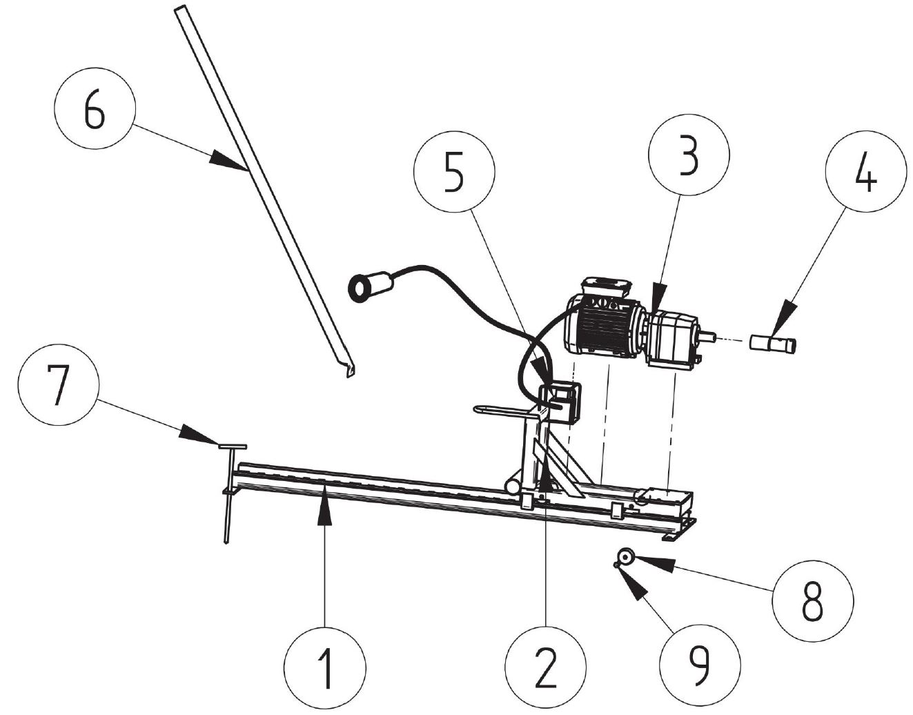
Elektromos motor: 2,2 kW, 230 V, ~1 fázisú
Dugvilla: ipari 3 pólusú (~1 fázisú / 32 A)
Kábel: 5m / 3×1,5 mm2 MT (max. 8 méteres hosszabbító használata engedélyezett - szálankénti vezető keresztmetszet minimum 1,5 mm2)
Leszállított tartozékok:
Vezetősín (1 db)
Rögzítő szegek (4 db, kicsi)
Előtolókar (1 db)
Rendelhető tartozékok:
Fúrószárak: Ø130, 200 és 250 mm (hossz 1 m)
Fúrófejek: Ø130, 200 és 250 mm (hossz 24 cm)
Bővítőszár: Ø300 és 350 mm (hossz 60 cm) – meglévő furat átmérőjének kibővítésére
Kardáncsukló: az akadálymentes hátramenetet segíti (csak kihúzáskor használható)
Csörlő: hátramenet esetén a géptest kihúzását segíti a földből
Válassz hazai terméket és EUROKOMAX minőséget!
Magyar gyártmányú, EUROKOMAX márkájú termék kiváló minőségű alkatrészekből összeállítva és az évek során a felhasználói igények szerint folyamatosan továbbfejlesztve. Az európai szabványok szerinti előírásoknak teljeskörűen megfelel (CE tanúsítvánnyal, TÜV Nord engedéllyel rendelkeznek).